【汽车之家 行业】春节假期2周内消息汇总,新势力方面,1月销量:新势力环比普遍下滑,小鹏升至第1,环比下滑并非新势力独有现象,跟补贴政策没有无缝衔接有关。车企对2025年展望没有中汽中心乐观。电动化造车门槛重新拔高,市场不会再提供犯错机会。2024年底之后,特斯拉再推新优惠,多家车企也同步跟进购车优惠政策。
传统车方面,上汽和华为合作“尚界”,2024年利润减少9成,减持计提完成,上汽通用清理库存,利空出尽,2025轻装上阵。
海外方面,本田日产合并案接近破裂,雷克萨斯确认国产。全球车企利润普遍下滑背景下,法拉利去年业绩超预期,今年将推出首款电动车。
行业方面,中国对美国产大排量汽车和皮卡加征10%关税,不包括电动车。二手车交易欠缺透明度,主管单位支持建设信息查询平台。

2025年2月1日,多家造车新势力发布月度销量数据,受多重因素影响,2025年1月,造车新势力销量普遍环比下滑。其中,华为鸿蒙智行的销量环比下滑29.3%至3.5万辆,但仍夺得造车新势力榜首。

小鹏汽车:月度销量环比下滑幅度最小,为17.3%。小鹏汽车以30350辆的成绩位居月销量第二名。
理想汽车:是2024年新势力销冠,年总销量超过50万辆。2025年1月,理想汽车月销量环比下滑48.9%至29927辆,排名跌至第三。
零跑汽车、小米汽车和蔚来:月销量分别为25170辆、超20000辆和13863辆,环比下滑幅度分别为40.8%、20%和55.5%。
拓展阅读:
1. 1月销量环比下滑并非造车新势力独有现象
a. 乘用车市场信息联席会(下称“乘联会”)数据显示,2025年1月1日至19日,全国乘用车零售量为105万辆,同比下降5%,环比下降27%;其中新能源乘用车零售42.3万辆,同比增长26%,环比下降39%。
b. 乘联会数据显示,2025年第一周,乘用车日均零售量仅为3.9万辆,同比下降28%,环比下降38%。
2. 销量环比下滑跟补贴政策没有无缝衔接有关
a. 2024年,主管部门先后推出汽车报废更新补贴和置换更新补贴。消费者报废达到条件的汽车再购买新车,最多可获得2万元补贴;卖掉旧车购买新车也能获得最高约1.5万元补贴。两项补贴政策于2024年底到期。
b. 在补贴政策到期之前,国内汽车市场在12月的销量达到高峰。2024年的补贴措施刺激部分消费者提前更换车辆,对2025年车市有一定透支。同时,补贴政策是否延续到2025年尚未明确时,消费者有观望情绪。
c. 直到1月8日,国家发改委和财政部才宣布继续实施汽车报废更新和置换更新补贴政策,标准与2024年保持一致。
3. 新补贴政策还可以继续拉动汽车销量增长
a. 行业机构普遍认为,在新一轮消费刺激措施下,车市有望在2025年继续保持增长。中国汽车技术研究中心有限公司(“中汽中心”)认为,新一轮刺激政策能够带来约410万辆市场增量,拉动零售额增加超5800亿元。
b. 中汽中心此前预测,2025年汽车国内和海外市场总销量将达到3250万辆,保持微增长。中汽协和中国电动汽车百人会的预测数据分别为3290万和3200万辆。
4. 但企业对2025年展望没有中汽中心乐观
a. 接近行业机构预测数据下限甚至更低,车企人士认为,消费刺激政策通常边际效用递减,国内需求仍然不足,而海外市场压力与日俱增,2025年的竞争烈度将是2024年的“加强版”。
b. 造车新势力面临的竞争形势可能更加严峻,其中大部分企业还没有实现盈利。随着主流车企纷纷转型,造车新势力的先发优势可能会逐步丧失。鸿蒙智行、理想汽车和小鹏汽车等希望通过智能化重新构筑护城河,但其他车企也在智能化方向奋力追赶。
5. 电动化造车门槛重新拔高,市场不会再提供犯错机会
a. 随着国内“最后一个新势力”小米汽车正式入局,造车“百团大战”接近尾声,电动化拉低的造车门槛将重新拔高。市场不会再提供犯错机会,极越汽车在2024年底“闪崩”就是例证。
b. 中国汽车销量将进入缓慢增长的波动阶段

6.自动驾驶:新维度搏杀开始,是最后的决赛
a. 2025年1月6日国际消费电子展(CES)期间,英伟达CEO黄仁勋称,在Waymo和特斯拉取得成功之后,自动驾驶时代终于到来了。

b. 特斯拉将通过智能驾驶系统FSD(Full-Self Driving)逐渐迭代升级达成自动驾驶。该公司CEO马斯克希望FSD能在2025年一季度落地中国。特斯拉是智能驾驶领头羊,FSD入华可能是行业新层次竞争的“发令枪”。
c. 理想汽车董事长李想在一场直播中称,电动化和智能化是汽车行业竞争的两个阶段,其中高级别自动驾驶将是决赛。他列举出跻身决赛的条件:500万辆以上的智能汽车车队规模、人工智能模型能力和足够多的钱。
7. 2025价格战继续打,格局什么时候稳定,战争什么时候停下
a. 头部企业明确表示,当占据相对稳定的市场份额后,也将寻求良性经营模式,保持现金流正常周转。
b. 吉利控股集团董事长李书福在公司新年致辞中呼吁:“不简单打价格战,旗帜鲜明反对‘内卷式恶性竞争’”。
c. 比亚迪要冲击500万辆销量目标,而奇瑞汽车宣布要进入全球车企销量前十。这意味着,奇瑞汽车销量要达到300万辆。
d. 在造车新势力中,华为鸿蒙智行曾提出2025年各品牌总销量达到100万辆。零跑汽车的目标是50万辆,增速同比超过70%。刚交付不满一年的小米汽车为新年提出了30万辆目标。
e. “所有的企业都想取得增长,市场是有限的,价格战怎么可能停呢?”
f. 年初,不少车企抢先行动。2024年12月24日,特斯拉(NASDAQ:TSLA)宣布,延长五年零息优惠期限至2025年1月31日。1月又再次发布优惠政策。
g. 12月27日,比亚迪宣布,两款畅销车型限时优惠1万元。
h. 2025年1月1日,奇瑞星途、捷豹、小鹏汽车、吉利极氪等多个品牌宣布降价或限时优惠。蔚来以及第二品牌乐道还承诺为将来不能获得政府以旧换新补贴的车主兜底。
8. 价格战的激烈程度主要取决于比亚迪,小心舆论压力
a. 2024年比亚迪销量超越上汽集团,成为国内第一大车企。如果比亚迪不再冲击更大规模,长安汽车、吉利汽车和奇瑞汽车等企业不会牺牲利润主动发起价格战。
b. 由于主管部门进行了“窗口指导”,比亚迪难以在2025年继续直接复刻前两年改版降价的战术。但比亚迪会考虑在主流车型大规模普及智能驾驶系统,并免费赠送智驾功能。“竞争对手可能很难直接跟进。比亚迪还会推出新产品攻向中高端市场。
c. 在过去两年,比亚迪连续发起价格战抢夺市场份额,去年比亚迪致函供应商、要求降价的截图在网络曝光,更是引发广泛质疑。比亚迪如果连续第三年发起价格战,可能会承受较大舆论压力。
短评:
价格战是中性词,除非企业组织价格同盟或者低价倾销,政府一般不会干预。主管部门是否采取措施应着重考虑企业行为是否损害消费者利益或者破坏公平市场环境。目前很难找到证据认定某个车企实施了“低价倾销”。
当下中国汽车企业品牌和产能都存在盲目扩张情况,品牌定位重复,销量规模不大,部分车企产能利用率不足。2024年,月销量低于5000辆的本土新能源汽车品牌有40多个。例如高合汽车工厂产能达15万辆,年销量不足5000辆,该公司已经进入重整阶段。车企品牌内部整合将是未来趋势,弱势企业被迫接受淘汰命运。
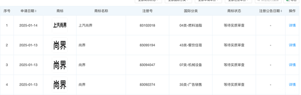
㊣上汽集团近期申请注册“尚界”商标引人关注。接近华为和上汽集团的人士告诉财新,上汽集团正在与华为接触,已基本确定开展鸿蒙智行模式合作,尚界有望成为鸿蒙智行“第五界”。
拓展阅读:
1. 天眼查已查到“尚界”商标待审查
a. 近日上海汽车集团股份有限公司新提交“尚界”、“上汽尚界”等多枚商标,国际分类涉及机械设备和广告销售等,商标状态均为等待实质审查。
b. 去年年底以来,上汽正与华为进行密切接触的消息便开始广泛流传。消息称,双方合作的项目由上汽总裁贾健旭亲自带队,或开辟华为目前与车企的三种合作模式(供应商、HI、智选车)以外的全新模式,甚至不排除上汽将战略投资华为子公司引望的可能。

2. 2024年业绩预告:利润减少9成,减持计提完成
a. 1月24日上汽集团发布业绩预告,预计2024年净利润15亿元到19亿元,与上年同期相比,将减少122亿元到126亿元,同比减少87%到90%。
b. 公司2024年实现整车批发销量401.3万辆,比上年同期减少20.07%。同时,因燃油车市场下滑、价格战持续升级,公司销售收入减少,毛利下降。
c. 公司合营企业上汽通用汽车有限公司及其控股子公司于2024年第四季度计提相关资产减值准备,上汽通用及其子公司为应对市场挑战,在评估业务重整行动影响后,将在2024年第四季度计提资产减值准备232.12亿元。预计将减少公司2024年第四季度净利润约78.74亿元。上汽通用计提资产减值准备也对上汽集团2024年业绩带来显著影响。
d. 公司于2024年完成MGI股权转让及增资扩股,预计增加2024年度净利润约51.3亿元。

3. 上汽通用拖累已达极限
a. 上汽集团对上汽通用及其子公司采取权益法进行核算,不承担额外损失义务。即使合资企业发生超额亏损,公司对其长期股权投资减计到零为止。
b. 上汽集团称,截至2024年9月30日,公司对上汽通用整车相关公司长期股权投资的账面价值为74.69亿元,这部分将减计为零;
c. 上汽通用动力总成子公司仍有部分资产不存在减值迹象,预计将在2024年第四季度确认投资损失4.05亿元。上汽集团料将因为上汽通用资产减值事项损失净利润78.74亿元。
4. 上汽印度子公司股权转让贡献51.3亿利润
a. 若不是上汽集团的印度子公司在2024年完成股权转让和增资扩股,获得相应收益,上汽集团2024年将由盈转亏。
b. 2024年4月,上汽集团印度子公司与当地投资方达成上述交易。交易完成后,上汽集团持有印度子公司49%股权以及53%投票权,印度企业JSW集团持股35%,当地金融机构持股8%,员工和经销商分别持股5%和3%。
c. 上汽集团称,印度子公司相关交易预计为公司贡献净利润51.3亿元。
5. 上汽通用销量减半,在主动清库存
a. 2023年,上汽通用共销售汽车100.1万辆,相比顶峰时的规模已经减半,而这可能还是上汽通用向经销商压库存实现的。
b. 2024年,上汽通用开始着手清理库存,其批发销量迅速下跌。2024年前11个月,上汽通用累计销量为37.1万辆,同比下滑58.6%。
c. 通用汽车财报显示,2024年前三季度,中国业务累计亏损3.47亿美元。
6. 上汽乘用车最大的亮点反而在海外
a. 2023年,上汽集团在海外销售汽车120.8万辆,其中MG品牌贡献84万辆。
b. MG原本就是欧洲品牌,早年由上汽集团收购而来。MG品牌在欧洲市场有认知度,也建立起了完善的销售网络。
c. 电动版MG4相比欧洲同级别产品更有价格优势,2023年在欧洲销售7.2万辆,同比增长874%。
7. 期待“新人”重整旗鼓,贾健旭并无太多集团管理经验
a. 上海市政府一度希望从其他地方选派上汽集团董事长,但最终选择王晓秋和贾健旭的搭配。王晓秋是技术出身,现年60岁,他丰富的经验能够支持和帮助贾健旭完成各项调整工作。
b. 贾健旭接任总裁多少有些“救火队长”的意味。他此前并没有太多集团工作经验。一名上汽大众人士称,贾健旭担任上汽大众总经理一年多,改变了合资车企被动挨打的局面。
c. 令人印象深刻的是,贾健旭主持工作时,每当好事发生,例如大众集团允许上汽大众自主开发插电混动车型,或者月销量达成目标,公司就请所有员工吃一顿30元的午餐。这不是特别的福利,却能极大提振士气。
d. 贾健旭曾在上汽欧洲工作,对大众汽车比较熟悉,能够与外方“谈笑风生”。大众汽车集团决定与上汽集团合作开发纯电动和插电混动车型,与贾健旭契而不舍地沟通不无关系。
8. 国企对企业创新约束太大
a. 上汽集团遇到的问题和其他央企、国企没有太大区别。自主品牌方面,除了广汽集团埃安表现不错,其他车企推出的新品牌同样乏善可陈。这表明,国企机制对企业发展创新发挥着客观约束作用。
短评:
地方大型汽车国企情况类似。上述国企高层人士称,汽车是市场充分竞争的行业,当前已进入“淘汰赛”阶段。主管部门应考虑调整激励机制,让国有企业放手参与竞争。上汽集团家底很厚,只要调整到位,相比其他车企仍有优势。通用减值事项落地,库存清理,利空出尽,2025轻装上阵。
㊣2月5日,特斯拉在中国市场对核心车型Model 3推出大力度优惠组合,包括限时保险补贴8000元、5年0息政策、特享充电权益。
这是继2024年底之后,特斯拉又一轮新优惠。此前,特斯拉针对Model Y车型推出了尾款立减1万元和5年0息政策。
拓展阅读:
1. 多家车企也同步加码购车优惠政策
a. 2月5日,小鹏汽车推出“五年0息0首付”政策,覆盖小鹏X9、小鹏G9、小鹏P7i以及小鹏G6等多款车型。即日起至2月28日,消费者支付定金即可享受小鹏汽车推出的0首付免息购车政策。
b. 2月1日,蔚来宣布推出5年0息限时购车政策,首付低至20%。2025年2月1日至2月28日期间支付定金购车,另可享1万元选装基金、5年NOP+免费使用权等优惠政策。此外,老用户购车可叠加5000至10000元的复购优惠。
c. 智己于2月5日宣布L6起售价下探至18.99万元,较此前的指导价下降3万元;广汽丰田对锋兰达和威兰达推出一口价政策,其中锋兰达起售价下探至8.98万元,较此前下降3.9万元。
2. 特斯拉在全球遇到销售压力
a. 特斯拉频繁对核心车型推出优惠政策,与其销量压力密切相关。Model Y在华单月销量近期一度跌至3.6万辆,相较于巅峰时期月销6万辆的成绩,可谓腰斩。
b. 压力不仅在中国,也来自全球。2024年特斯拉全年交付178.9万辆新车,相较于2023年的180.86万辆,下降了1.1%,这是10年来首次下跌。


3. 2024年四季度财报略不及预期
a. 四季度营收257.07亿美元,同比增长2%,远低于分析师预期的272.1亿美元;当季营业利润同比下降23%至15.83亿美元,显著低于分析师预期的26.8亿美元。

b. 四季度毛利润率为16.3%,弱于分析师预期的18.9%,也低于上年同期的17.6%。公司称主要是由于Model 3、Y、S 和 X 等车型的平均售价下降造成。

4. 特斯拉在欧美也推出一系列降价措施和优惠权益
a. 在美国市场,特斯拉针对2024年年底提车的消费者推出三个月免费超充及FSD(完全自动驾驶能力)的优惠政策;
b. 在欧洲市场,2024年前购买特斯拉Model Y的消费者可免费使用一年的超级充电服务等。
5. 2025年,特斯拉在欧美市场销量出现暴跌
a. 特斯拉1月在法国的销量下降了63%,葡萄牙下降了31%,丹麦、瑞典、挪威和荷兰下降了40%左右,法国下降了63%,西班牙更是下降了75%。
b. 根据汽车研究机构New AutoMotive统计,在欧洲最大的纯电动汽车销售市场英国,1月新车注册量创下历史新高,但特斯拉的新车注册量下滑了近12%,销量排名也从第二跌至了第七。
6. 马斯克涉政,个人言论影响公司销量
a. 欧洲市场销量的下滑,与特斯拉创始人马斯克近期争议言论密不可分。马斯克在社交媒体上公开支持英国和德国的极右翼政党,引发了广泛争议。
b. 电动汽车评论网站Electrifying.com在1月底进行的一项调查显示,59%的英国电动汽车车主和有意购买电动汽车的人表示,马斯克的言论会让他们放弃购买特斯拉。
7. 全球各地车市推出大量新车给特斯拉造成压力
a. 特斯拉自2020年推出Model Y以来,该公司未能推出新的主流车型,而包括中国电动汽车制造商在内的竞争对手却在市场上推出了更新的产品。
b. 以英国为例,2020年英国市场只有25款纯电动车,而目前市场已有130多款主流电动车型。中国电动汽车在英国消费者中越来越受欢迎,市场调研显示,61%的现有电动汽车车主和56%的潜在买家愿意购买中国品牌的电动汽车。


8. 2025年特斯拉汽车销量要重回正增长
a. 特斯拉承诺,会在2025年推出一款更具有价格竞争力的车型,该车型将使用现有平台的零部件以及下一代平台的部分技术,其起售价预计在三万美元左右。
b. 特斯拉还将在今年对现有核心车型进行更新。Model Y焕新版已经在2025年1月10日推出。另外一款专为中国市场设计的三排长轴距Model Y,特斯拉则计划在2025年下半年推出。
9. 2025年是特斯拉准备之年,4季度业绩不及预期但股价反馈正面
a. 2025年6月,特斯拉在美国奥斯汀和加州将提供付费无人监督全自动驾驶(“FSD”)机器人出租车服务,并于2026年在美国全面铺开;同时其认为人形机器人Optimus 的潜在收入为10万亿美元。
b. 尽管存在诸多不利因素,但特斯拉股票的表现仍继续优于大盘,尤其是四季度业绩不及预期的情况下,1月31日股价仍实现了1%的微增长。截至2月4日收盘,特斯拉股价报收于392.21美元,上涨2.22%。
短评:
在市场承压较大的情况下,特斯拉推出新的优惠政策可能会引起连锁反应,部分车企会跟进特斯拉的政策,以增强自身的竞争力,但这会进一步加剧市场的竞争态势。
㊣1月24日,商务部等八部门发布《关于开展汽车流通消费改革试点工作的通知》,提出支持第三方二手车信息查询平台建设运营。便利二手车交易流通也是政府刺激汽车消费的重要措施。
拓展阅读:
1. 信息不对称是二手车交易市场最显著的特征
a. 不少二手车卖家会隐瞒实际车况,向消费者推销水泡车、事故车,消费者并非专业人士,无法摸清真实车况,难以保护自身权益。
b. 二手车通常需要经营者买入再卖出,从业者和终端消费者为降低风险,大多使用第三方二手车信息查询平台了解历史车况信息。目前国内较大的二手车信息查询平台有查博士、柠檬查、精真估、268V车况检测专家等,用户可以通过车架号(VIN码),查询车辆出险记录、档案记录等信息。
2. 二手车市场逐渐活跃
a. 根据中国汽车流通协会1月10日发布的统计数据,2024年全年,国内二手车累计交易1961.42万辆,同比增长6.52%,同比增加了120.08万辆,2024年累计交易金额为1.29万亿元。

3. 国内二手车信息查询行业的发展不成熟
a. 国内各大二手车信息查询平台主要对接保险公司和4S店的数据系统,问题在于,还没有一个查询平台可以对接所有的保险公司。
b. 问题1:一辆在售二手车此前在某家保险公司出过险,但某个查询平台没有对接这家保险公司,买家无法通过该单一平台查询掌握真实车况。
c. 问题2:在国内,部分车主在车辆出险后并不会向保险公司申请理赔,而是选择在路边修车店维修,二手车信息查询平台也无法搜集到路边修车店的维修数据。
4. 效仿美国二手车信息平台Carfax,打通各个环节
a. Carfax公司是北美较为知名的二手车信息查询平台。Carfax最初向汽车经销协会购买二手车车辆数据,以此建立基础数据库,为消费者提供简单的车辆历史报告。
b. Carfax还雇用职业经理人游说部分州议会,说服其通过相关法律,使得各地车管所、公路交通安全管理局、警察局和消防局开放其二手车数据。
c. Carfax公司能够从相关政府部门、汽车拍卖机构、修理厂、车队和租赁机构等搜集各类车辆数据,可以提供更为丰富的二手车历史车况信息。
短评:
在国内,监管部门也意识到提高二手车市场流通效率,在积极推动二手车信息透明化。商务部等14部门在2024年3月底联合发布的《推动消费品以旧换新行动方案》提出,推动汽车领域非保密、非隐私信息开放使用,提升独立第三方二手车信息查询平台运营质效。
2月5日,据央视新闻报道,日本汽车制造商日产汽车公司已敲定,撤回与本田汽车公司进行经营统合的谅解备忘录的相关方针。双方原计划通过控股公司方式进行统合,但在统合比例等条件上未能达成一致。
2025年农历新年开工后,丰田中国对外确认,决定在上海市金山区成立LEXUS雷克萨斯纯电动汽车及电池的研发·生产公司。换而言之,雷克萨斯将国产,这一消息公布随即在汽车行业引发广泛关注和讨论。
拓展阅读:
1. 2024年12月,本田汽车和日产汽车正式开启合并谈判
a. 双方曾在东京共同宣布,已就合并事宜签署谅解备忘录,将正式开启合并谈判。二者将以共同出资成立一家控股公司、双方均作为该控股公司子公司的方式进行合并。本田社长三部敏宏、日产社长内田诚以及三菱汽车社长加藤隆雄共同出席了当天的记者会。
b. 本田和日产将共同出资成立一家控股公司,双方均作为该控股公司子公司,以此方式进行合并。控股公司名称、各方持股比例、人事安排等细节将通过后续谈判进一步明确。
c. 计划于2025年6月达成最终合并协议,控股公司拟于2026年8月正式成立并同步上市,本田和日产将随之退市。
2. 本田股东要求完全控制日产,且估值股权比例也有分歧
a. 本田市值约为日产的五倍,本田希望将日产作为子公司纳入其体系,以掌握日产的管理权,推进业务重组,提高决策效率,但日产认为此举违背了最初组建平等公司结构的设想,希望在新公司中保持平等地位,双方在管理层架构和决策权分配上难以达成一致。
b. 双方在股权比例和资产估值问题上存在分歧。
3. 雷克萨斯1995年进入中国市场,此后一直以进口形式在国内销售
a. 2024年雷克萨斯在中国市场销量前三车型分别为ES、RX、NX,据易车销量数据显示,三者销量分别为108015辆、32118辆、20175辆,其中雷克萨斯ES是榜单中唯一销量超过10万辆的进口车。
4. 中国新能源车产业链优势明显,超级强大
a. 国内新能源车产业链的优势明显。在传统燃油汽车领域,中国与欧美等发达国家存在一定差距。而在新能源车领域,中国起步较早,通过多年的发展,已经在电池技术、整车制造、充电设施等方面形成了一定的产业优势。

5. 丰田雷克萨斯国产的必然选择,日本打造难度大
a. 雷克萨斯电动化需要从混动向纯电动加速升级。全球各国对汽车尾气排放的限制越来越严格,许多国家和地区都制定了明确的燃油车禁售时间表。
b. 加速向纯电动升级,有助于雷克萨斯更好地满足全球各地的环保政策要求,同时跟上世界智能化的发展。
c. 目前日本本土的新能源产业链打造难度巨大。由于电动车产业链涉及电池、电机、电控、智能网联等多个领域,需要众多企业之间密切协同合作。日本企业在传统汽车产业模式下,各企业之间的合作关系相对固定,在向电动车产业链转型过程中,需要重塑产业协同关系,而电动化的产业规模小,日本国内电动车产业链很难有国际竞争力。
6. 本田与日产的困境与战略选择失误
a. 文化和技术线路差异明显。日产注重技术创新和全球化布局,致力于打造前瞻性产品;本田以工程技术和产品质量见长,强调对汽车制造工艺的精益求精。
b. 双方在企业文化和管理风格上存在较大差异。尤其是技术线路完全不同,一个是比亚迪插混技术的开拓者,一个是理想增城线路的开拓者,可惜都缺乏技术创新,产品不争气。
c. 世界前10位的头部车企除了中国车企,目前均处于市场下滑中。丰田下滑幅度是最小的,世界车企的中国车企地位不断提升,这是中国新能源发展带来的巨大的市场重塑。

7. 合资企业应该加大中国本土投入,珍惜本土地位
a. 本田品牌和日产品牌在中国有良好的口碑和巨大的保有用户。应该珍惜自己的品牌和用户口碑。
b. 中国拥有从原材料供应、零部件制造到整车组装的完整汽车产业链,产业集群众多,可实现世界领先的零部件配套供应,快速应用新技术,提高生产效率、降低成本。
c. 当年中国政府相关部门前瞻性地看到合资车企发展的问题,强调要实现合资品牌的本土化研发和建立合资自主品牌。
d. 本田和日产均需要加大中国本土化研发投入和实现依托中国产业链优势的产品创新,实现赋能日产和本田的全球化发展。
短评:
中国自主车企的强大和走向世界是不可阻挡的。合资车企在中国失去竞争力,必然也将失去世界车市份额。日产和本田如果把核心精力和技术研发放到最具竞争和创新的中国市场,必将获得更为丰厚的回报。
㊣2月4日,国务院关税税则委员会发布《关于对原产于美国的部分进口商品加征关税的公告》(下称《公告》),包含上述信息。中国将从2月10日起,对原产于美国的大排量汽车和皮卡加征10%的关税。
这是中国政府对美国加征关税措施的回应。2月1日,美国政府宣布以芬太尼等问题为由对所有中国输美商品加征10%关税。
拓展阅读:
1. 中国加征美国进口的17个类别汽车
a. 《公告》显示,中国拟加征关税的汽车产品共有17个类别,覆盖发动机排量在2.5升以上的小轿车、越野车、小客车,还包括车重在5吨及以下的燃油和混合动力货车、电动货车等。
b. 国务院关税税则委员会称,美方单边加征关税的做法严重违反世界贸易组织规则,不仅无益于解决自身问题,也对中美正常经贸合作造成破坏。
2. 美国对中国出口汽车总量并不多,还在逐年下滑
a. 中国进口车市场整体处于下滑状态,2024年中国进口车总量为70.5万辆,同比下滑12%。
b. 美国是第三大进口车来源国,2024年进口量为10.9万辆,同比下滑5%。2021年至2023年,来自美国的进口车数量分别为16.3万、13.8万和12.6万辆。
c. 在进口乘用车中,发动机排量在2.5升及以下的车辆占比更高,2.5升以上大排量进口车占比约为38%。
d. 海关总署数据称,2024年中国从美国进口的2.5升以上大排量汽车和皮卡总量约为3.88万辆,同比下滑22.3%。“中国从德国和斯洛伐克进口的大排量汽车更多,美国排在第三。美国进口大排量汽车在该类别占比约为18.1%。”这名人士说。
3. 影响的美国车企,不包括特斯拉
a. 目前尚不清楚中国政府加征关税对具体企业的影响。从美国向中国出口汽车的企业主要有福特汽车、梅赛德斯-奔驰、宝马和通用汽车等。
b. 特斯拉(NASDAQ:TSLA)也向中国出口部分高性能版本和更高售价的车型,但电动乘用车不在此次加征关税之列。
c. 其中,福特汽车旗下将涵盖福特F-150猛禽、林肯领航员、Mustang等大排量车型;通用汽车旗下涵盖道朗格渠道售卖的育空、太浩两款车型;Stellantis旗下则涵盖JEEP角斗士、道奇挑战者克莱斯勒300等车型。
d. 德系品牌中奔驰GLE、GLS和宝马X4、X6、X7等产品均在美国有生产,向中国出口;其中奔驰GLE、GLS部分产品排量是低于2.5L,将不会被征收10%关税。


4. 中国和美国曾在2018年互相加征进口汽车关税
a. 当时的美国总统也是特朗普。美国率先宣布对中国产汽车加征25%关税。美国进口汽车基础税率为2.5%,加征之后中国汽车进口关税税率为27.5%。
b. 中国随后反击,对美国产汽车同样加征25%关税,中国进口汽车基础税率为15%,加征之后美国汽车进口关税税率为40%。
c. 2018年至今,美国没有降低中国进口汽车关税税率,且在2024年9月再次加码,对中国产电动汽车加征100%税率。美方还计划禁止中国网联汽车在美国销售。中国政府曾在2019年暂停加征美国进口汽车关税,后来又恢复征收。
5. 中国通过墨西哥向美国出口汽车的路或将关闭
a. 中国直接向美国出口汽车数量极少,部分企业计划在墨西哥建厂,旨在间接进入美国市场。
b. 美国近期在与墨西哥就加征关税事项进行谈判,如果加征措施落地,中国企业可能需要另寻进入美国市场的途径。
6. 特斯拉是上轮中美贸易受益者,本轮影响还待观察
a. 在2018年中美贸易摩擦中,特斯拉是客观上的获益者。中国政府在2018年将整体进口汽车关税税率从25%降至15%,并公布汽车行业对外开放时间表。新能源汽车外资投资限制于2018年当年放开,特斯拉随即宣布在中国独资建厂。
b. 特斯拉上海工厂于2019年建成投产,助力特斯拉销量和市值在2020年之后腾飞。
c. 特斯拉CEO马斯克是特朗普新一轮总统竞选主要捐助者之一,他现在还担任美国政府效率部部长。
d. 特斯拉在中国有重要利益,中国政府高层也曾先后在中国和美国会见马斯克。这一轮中美贸易博弈将对特斯拉和马斯克带来何种影响还有待观察。
短评:
国产传统品牌趁机填补空白,近期长城汽车作为燃油车越野车的代表,也推出了超高端品牌,自信汽车。国产高端大排量汽车吃下国内市场正当时,我们的反击很精准。除了宣布对美加征对等反制性关税,还对美谷歌公司涉嫌违反反垄断法进行立案调查。
㊣7. 东盟车市:泰国印尼下跌越南崛起,比亚迪MG领先
2024年,比亚迪、MG和五菱等中国品牌也在该地区取得了一定的市场份额,加强了对东盟市场的控制。电动汽车市场正在快速增长,但基础设施建设、消费者对电动车的认知与接受度、以及高昂的购车成本仍然是制约其扩张的主要因素。
拓展阅读:
中国汽车品牌在泰国市场销量总和最高,达 7.13 万台,其次是印度尼西亚(5.32 万台)、马来西亚(3.01 万台)、菲律宾(1.23 万台),新加坡的销量总和相对较低,为 0.78 万台。
1. 比亚迪:以 5.81 万台的合计销量领先各品牌,在泰国销量为 2.70 万台,在印度尼西亚销量达 1.54 万台,市场布局较为广泛且均衡。
2. MG:合计销量 3.12 万台,在泰国销量为 1.74 万台,菲律宾销量 0.82 万台。
3. 五菱:合计销量 2.26 万台,主要销量集中在印度尼西亚,达 2.19 万台。
4. 奇瑞:合计销量 2.91 万台,主要销量集中在印度尼西亚(0.92 万台)和马来西亚(1.97 万台)。
5. 哪吒、深蓝、极氪、小鹏:这几个品牌销量相对较少。哪吒合计销量 0.88 万台,深蓝 0.56 万台,极氪 0.03 万台,小鹏 0.05 万台,销量主要集中在泰国。
6. 广汽 / 埃安:合计销量 0.87 万台,在泰国销量 0.41 万台,菲律宾销量 0.31 万台。
7. 长城:合计销量 0.97 万台,在泰国、印度尼西亚、菲律宾和马来西亚均有少量销售,分别为 0.80 万台、0.08 万台、0.04 万台和 0.04 万台,在新加坡销量 0.01 万台,市场分布较为平均,但各区域销量均不高。

8. 印度尼西亚与泰国的市场疲软
a. 作为东盟地区的两个传统大市场,印度尼西亚和泰国在2024年分别经历了14.1%和16%的销量下降,拖累了整体市场表现。
b. 印度尼西亚仍然是该地区最大的市场,占据了24.7%的市场份额,但销量已降至790,647辆。泰国紧随其后,销量下降至678,010辆。
9.越南和菲律宾的崛起
a. 与传统市场的疲软形成鲜明对比的是越南和菲律宾的强劲增长。越南市场在2024年实现了9.2%的增长,达到379,527辆,排名提升至第五位。
b. 菲律宾的销量增长也很显著,达到7.7%,为468,879辆,东盟市场的未来增长潜力可能更多地依赖于这些新兴市场的崛起。
短评:
政府政策和企业合作将是推动该地区电动汽车普及的关键因素。东盟地区未来的汽车市场将受到多重因素的影响,区域经济的发展将直接影响消费者的购车需求。
外部经济环境的不确定性仍然是市场面临的重大挑战。美国对中国的潜在关税政策、全球供应链的变化以及区域金融动荡都可能对市场增长产生影响,东盟市场的跨国合作和政策协调也将是推动区域经济一体化和市场增长的重要因素。
㊣法拉利(Ferrari)表示,将在2025年10月初推出首款电动车。这家意大利豪华汽车制造商公布季度利润大幅上升,受推动于个性化配置的增加。
法拉利计划今年推出的6款车型中将包括这款电动车,维尼亚强调,美国总统唐纳德•特朗普(Donald Trump)政府的关税和能源政策不会影响其战略。
该车可能是一款四门掀背跨界车型,而非传统跑车,并可能提供发动机声浪模拟系统。

拓展阅读:
1. 全球车企利润普遍下滑背景下,法拉利去年业绩超预期
a. 法拉利今年交付了6款混合动力车型,占其总出货量的51%,在第四季度的所有指标上都超出了市场预期,在行业中逆势而上。
b. 在去年10月,法拉利还推出了一款售价360万欧元的F80超级跑车,该车型已全部分配给了收藏者。
c. 截至去年12月的三个月中,其净利润增长了31%,达到3.86亿欧元,而收入增长了14%,达到17亿欧元——单次发货收入达到历史最高水平。

d. 个性化配置是近年来利润增长的重要推动力,有时客户会为这类服务在汽车价格基础上额外支付数万英镑。
e. 法拉利的毛利率在各大车企中以接近50%位居首位

2. 混动占比接近一半,满足动力需求又满足环保需求
a. 值得注意的是,法拉利的混合动力已经占比达到了48%,通过F1赛车场上积累了大量的数据和实战经验,意大利人玩赛车还是很有针对性的。

3. 法拉利预测其今年的收益将继续增长
a. 预计调整后的营业利润率将达到29%或更高。周二,公司股价上涨了超过9%。
4. 不担心中国需求放缓问题
a. 2024年最后三个月,该公司运往中国内地、香港和台湾的货物同比下降21%,但由于美国的强劲需求,总体出货量增长了2%。
b. 豪华汽车品牌因中国需求放缓而受到冲击,但对法拉利来说,中国市场相对较小,因为法拉利目前对该国的交付量设定了10%的上限。
c. 维尼亚表示,鉴于中国对豪华电动车的强劲需求,集团可能会调整其在中国的战略。
5. 法拉利的成功在于定位的精准
a. 在美洲市场,Purosangue、Roma Spider和296 GTS等新车型的推出,成功吸引了当地高净值消费者的关注,并推动了销量的增长。
b. 而在欧洲、中东和非洲市场,法拉利则继续巩固其传统豪华车制造商的地位,通过限量版和特殊系列车型来保持市场的稀缺性和品牌的独特性。
c. 还在不断扩大其品牌影响力,尤其是在生活方式领域。通过推出奢侈品、时尚系列和其他与赛车文化相关的生活方式产品,法拉利成功地将其品牌延伸到更广泛的领域。

短评:
法拉利不仅在传统燃油车领域保持领先,还在新能源技术上积极探索,彰显了其在应对未来挑战方面的前瞻性思维。法拉利在玛拉内罗的新E-building的落成,这是公司在可持续创新领域迈出的重要一步。E-building的概念基于技术中立性和灵活性,支持内燃机、混合动力和纯电动车型的开发与生产。