[汽车之家 冷科技] 提起电动车续航问题,我想无论车黑还是车托们都会承认,这是人们对电动车最关注的点之一。如何提高电动车的续航是车企和供应商们的重要课题。正因为这些研究,才有了制动能量回收、才有了各种新式动力电池。而在不久前,新能源市场上的领头羊特斯拉也宣布了一项新的专利技术,这就是热泵空调,马斯克甚至专门在推特上炫耀自家的新技术。目前这项技术已经在特斯拉Model Y(图片 | 参数 | 询价)上进行了搭载,未来特斯拉将会在更多车型上应用这个技术。为什么一个空调技术会得到马斯克专门的吹捧,本期《冷科技》我们就来了解一下背后的故事。

10秒钟读懂全文
电动车开空调,里程直接减半?
特斯拉新专利让你放心开空调,里程不会掉?
好空调、格力造在汽车上也将实现?
『壹』电动车续航之空调综合症
症状:电动车无稳定热源,采用PTC热敏电阻,能耗巨大,极大地缩短了续航。
汽车空调绝对是汽车发明史上最有用的发明之一,它能让我们的乘员舱冬暖夏凉,提高了驾乘的舒适度。

综合来看,虽然空调在传统燃油车上会消耗一定的动力,但占比很小,对油耗的影响也有限,因此对于传统燃油车,我们并不在意空调的消耗。

这些系统在工作时可以产生一定热量,其中动力电池产生的热量最多,但这些热量无法满足空调的需求,因此传统的电动车上,并不会以这些热量为空调暖风的“源泉”,因此为了提供热源,电动车会额外的加入热源零部件PTC。

PTC是指正温度系数热敏电阻,这种电阻和温度是正相关的关系。也就是当环境温度降低,PTC的电阻也降低,这样通电后,恒定电压下,电流增大,通电的发热量就会变大。

目前PTC加热有两种方案,水暖和风暖。其差别就在于一个是通过PTC加热冷却液,再和散热器进行热交换;而另一个是开启暖风后,冷空气直接和PTC进行换热,最终吹出暖风。

一般情况下,PTC的功率会在6kW以内。对应不同功能,系统会对PTC的功率进行较为精准的控制。比方说,下雨天或者冬天的前挡风玻璃除霜、除雾功能,大约需要提供2-3kw的功率,而如果进行冷却液加热则需要PTC的功率达到6kW左右。目前一些价位较高的电动车,还会布置双PTC,因此在能耗方面的消耗是非常明显的。


早期类似北汽新能源的EV 200、长安奔奔EV(上图所示)等车型,由于本身续航里程就短,如果再开启暖风,会对续航产生很大影响,这也是很多电动车车主抱怨的地方。
『贰』你方唱罢我登场之热泵空调
由于PTC技术的种种问题,新的空调技术开始出现,这就是热泵空调。热泵在工业领域的应用还是比较多的,从技术上说并不是“新物种”。但在汽车中还是比较罕见。这种空调主要以热泵技术为核心,是目前为数不多的适用于电动车制热的有效技术。
特斯拉发布的这项技术就是一套基于热泵的空调系统,想要了解这套系统,你得先了解热泵空调的相关原理。

『汽车热泵空调系统结构图』
理论上讲,热泵是一种将低位热源的热能强制转移到高位热源的空调装置。你可以将其理解为水泵的原理。春天到了,我们会把处于低位的河水通过管道在水泵的作用下抽到田间地头。热泵也是如此,它是热量的“搬运工”,可以把低温“物体”(包括气体、液体)的热量吸收出来传递到工质内,再通过系统内对工质的压缩使其升温,最终将高温工质通过冷凝器和车内空气进行换热,实现暖风的功能。(夏天通过改变热转换的方向,从乘员舱吸收热量进行制冷。)整个过程中,电池的电能只应用在“搬运”热量上,从而达到省电的初衷。
『叁』特斯拉并不是第一个吃螃蟹的人
热泵空调有这样的优势,传统车企们自然不会视而不见,尤其是外国品牌,它们大概已经有了5-8年的积累和实际验证。

比如日产的Leaf、丰田的普锐斯以及宝马的i系列车型等。国产品牌则是在近几年开始发力,上汽集团和长安应用的较多,比如上汽的荣威Ei5等车型都应用了热泵空调。特斯拉虽然大力宣传自己的热泵技术,但在之前的Model 3或者更早的车型都是传统的PTC技术,这次的Model Y是特斯拉品牌第一款搭载热泵技术的车型。
从这些已经搭载热泵技术的车型上,我们可以更进一步看到热泵技术实际应用的样子。整个系统由四个核心零部件组成,分别是:电动压缩机、四通换向阀、换热器和电子膨胀阀。它的工作过程可以用下面这张图进行说明。

除了特斯拉之外,都是应用这这种热泵空调的方案。可以看到,其热源就是来自环境的热量,那么可想而知,热泵空调是和环境温度息息相关的。如果外界气温过低(低于0℃),可能会造成进气格栅位置的换热器被冰霜覆盖的情况,因此影响对外界热量的吸收,从而导致热泵空调换热销量变低。因此目前实际装车时,还会加入小部分的PTC,作为辅助加热器。
㊣
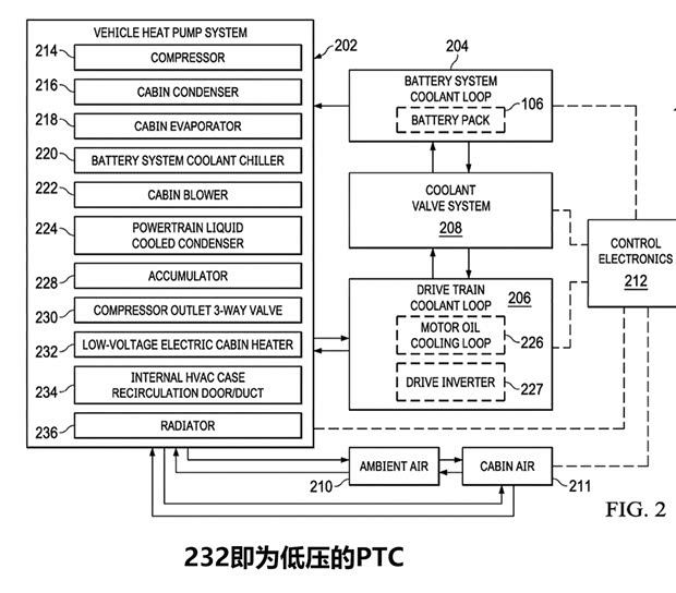
『肆』高度整合的特斯拉热泵技术
特斯拉的新专利也是属于热泵+PTC辅助。特斯拉为Model Y的热泵系统加入了额外的PTC加热器,这个PTC加热器采用了和传统燃油车相同的12V电压,同时Model Y也单独配置了一个12V的蓄电池。这个PTC相对来说功率和成本都很低,完全处于辅助角色。


『特斯拉热泵系统图』
除了PTC辅助,特斯拉热泵技术另外一个也是最大的特点在于热源的高度整合和强大的软件性能。从下面的专利图可以清楚说明。

我们可以看到,特斯拉热泵系统将两部分进行了融合,一个是传统的热泵系统,其热源来自于外界空气;第二部分是动力电池系统、驱动系统(包括电机和传统系统)以及PCS功率电子产生的余热,整套系统依靠八通换向阀进行复杂的热量汲取。以此提高热泵空调总体的效率。
一般情况的汽车热泵系统采用四通换向阀,来满足环境热源和成员舱的热交换,而特斯拉因为整合了更多的热源,所以采用了更为复杂的八通阀。

小贴士:工质,所谓工质是指实现能量转化的媒介,常见的有水蒸气、制冷剂等,空调里面的冷媒就传统的工质。
这种不同热源的整合,为特斯拉空调系统带来了多达12种多种功能模式。和乘员舱有直接关系的有四种,如下表所示:
| 特斯拉热泵空调系统模式总览 | |
| 开启模式 | 方式工作 |
| 单一热泵模式 | 单纯从外界空气系统热量,通过八通阀引导冷却液和驾驶室进行热交换。 |
| 混合暖风模式(一) | 开启外循环利用外界空气、12V的PTC以及动力电池为热源为乘员舱供热。 |
| 混合暖风模式(二) | 开启内循环利用乘员舱空气、PTC以及电池热源为乘员舱提供热风。 |
| 压缩机热源模式 | 使用压缩机运转时的余热为热源,为乘员舱供热。 |
| 除此之外,还有将压缩机为热源,为电池系统预热,或者以压缩机为热源,为车内部进行除霜、除雾等功能。 | |
小结:特斯拉将传统的热泵空调和车辆的电池系统、动力系统进行了打通,彻底压榨了不同系统的余热,同时进行了融合,产生了多达12种工作模式。最重要的是,这些功能是系统自己操作,根据天气情况和车辆情况自动完成所有的功能匹配和操作。这在算法层面表现出一个极高的水准,相信只有特斯拉这种使用了域控制器的车型才能完成集成度如此高的打通和融合。特斯拉也再次展现了他们的系统控制能力,这值得中国品牌去学习和借鉴。
『伍』热泵如此之优秀,难道就没有问题和挑战了吗?
目前关于热泵空调,我们一般有两个主要的疑问。首先是热泵比PTC究竟能节能多少?第二个是热泵空调的缺点是什么。
关于热泵的能耗问题,理论和实际测试都有支撑。理论上讲,我们一般用转换热量和输入能力的比值也就是COP(能效比)来衡量空调性能好坏,COP越高说明空调转化销量越高,也就是越节能。理论上的数据是PTC制热的COP是1,而热泵的COP最低情况也高于1,在实际中一般会在2-4之间。也就是在相同能耗下,热泵产生的热量是PTC的2-4倍。
那么从实体测试来看,我们曾经在0℃对荣威Ei5(热泵空调)和吉利帝豪EV(PTC)进行了实际测试。


从暖风空调原地实测(当时测试车外温度为0℃)的结果来看,热泵空调的制热效果并没有像传说中那样,“热不快、不暖和”,反而温度的爬升要略好过PTC空调,而且耗电量更低,原地三十分钟,热泵空调消耗的续航里程要远低于PTC空调。(数据来源:PTC/热泵哪家强 《我帮你测》暖风空调)
所以,我们可以认为热泵空调确实比PTC在实际使用时更节约电量,不过从上面的文章里,细心的读者朋友肯定发现,温度其实对热泵有着很重要的影响。特斯拉Model Y给出了这样的一张图表,这也引出了我们第二个疑问,热泵空调的缺点是啥?

我们可以肯定的回答,就是温度。
实际上,当COP变为1时,热泵系统近乎于不工作状态,此时环境温度大概在-20℃左右;这个温度除非东北地区,一般比较少见;那么在更高一点的-10℃-0℃区间,北方的天气大部分都能达到这个气温,特斯拉Model Y热泵空调的COP在1-2之间,这个数值其实差强人意,只是比PTC强一些。特斯拉的策略是在这个区间启动辅助PTC,帮助制热。超过0℃后就是热泵空调最佳的区间了,10℃便可以超过2.5,节能效果十分出色。
综上所述,热泵空调目前最大问题还是气温,对于寒冷地区,还是不够方便,不过应对一般的北方地区,对于续航的影响必然要小于PTC车型的影响。
那么除了系统本身存在的先天性问题,在产品上热泵也存在一定制约。上文提到过,热泵系统由四个核心零部件组成,分别是:电动压缩机、四通换向阀、换热器和电子膨胀阀,其他零部件和传统空调相同,但价格方面却相差不小。

而特斯拉使用了八通换向阀,相比传统热泵的四通换向阀价格更高,因此对于特斯拉来说可能还要多一部分八通阀的价格。
『陆』好空调、格力造,热泵空调价格虽高,但前景广阔
热泵空调虽然价格较高,但好在整体系统方案和零部件供应商已经成为体系。无论国内还是国外都已经形成较为完善的系统解决方案和零部件产品。
国外以法雷奥、博世、电装、马勒等企业为主。这些国际品牌占据了全球55%以上的电动车热管理市场。其中电装的经验尤为丰富,丰田、日产、雷诺的热泵系统皆来自于这家企业。从2013年推出热泵空调以来,它积累了大量经验,它的最新产品可以将热泵空调应用在-10℃的环境,比2013年的初代产品节能63%。

与国外供应商全套系统方案的提供不同,国内供应商在零部件方面更有优势,而且已经做到了全覆盖。比如奥特佳、三花智控等,其中奥特佳的电动压缩机就是特斯拉Model Y热泵系统的零部件,还有异军突起的格力。格力曾发布过整套的车载热泵系统,其最低使用温度可以到-30℃,里面应用了一系列格力的最新空调技术,这套技术有望未来在中国品牌上搭载。
编辑总结:续航短、充电难,一直影响消费者购买电动车的主要因素之一,而热泵技术作为为数不多且现阶段可以提升续航的手段,因为其较为高额的装车价格而被车企忽略,但这次特斯拉的强势宣传以及在热泵上发力的举动,必然会引起其他车企的重视。最重要的是特斯拉将热泵技术深入融合开发的思路以及强大的软件整合能力一定要充分重视,新势力车企或许在造车上还有很多路要走,但在系统整合以及软件端已经走在了前列。(汽车之家 图/文 冷晓阳)